電磁鐵是自動化的產物,是隨著市場不斷更新,大眾需求和運用而出現的一種新型的產品。
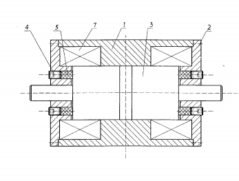
現在市面上生產的電磁鐵參差不齊,雙向推拉式的電磁鐵一直是市場上空缺的一個產品,雙向保持式電磁鐵是一種銜鐵可直線移動的一種雙推電磁鐵,其結構是電磁鐵里面設有電磁線圈,永磁鐵和兩端可以伸出的鐵芯,兩端有固定的蓋板,在電磁鐵兩端還加裝了減震橡膠墊片,左右可以伸縮,在方便了減震基礎上,加大了電磁鐵做功的功能,兩端都可以同時做功。工作簡便、快捷,滿足客戶的各種需求。

雙向推動電磁鐵設計原理:中間有磁鐵(汝鐵紅)強磁,左右兩個細鐵芯可以伸縮,中間鐵芯比兩邊的粗,電磁鐵通電時,線圈會產生磁力克服永磁體的磁力往左邊和往右邊直線運動。
雙向保持式電磁鐵主要運用于醫療設備和高端自動化設備以及汽車設備等,保持力可以達到3KG,形成可達到5mm。
磁心科技----用心服務!